Размер шрифта
Цвет фона и шрифта
Изображения
Озвучивание текста
Обычная версия сайта
МПО ПРОМЕТЕЙ
Работаем для Вас
уже более 5 лет!
7 (922) 178-81-77
7 (922) 178-81-77
8(800)550-83-35
E-mail
zakaz@mpo-prometey.ru
info@mpo-prometey.ru
Адрес
г. Самара, ул. Гагарина, 85
Режим работы
Пн. – Пт.: с 9:00 до 18:00
Каталог
  • Дорожные металлические трубы
    • Трубы ЛМГ (МГК)
    • Спиральновитые трубы (ГСМТ)
    • Гофрированные арки
  • Барьерные дорожные ограждения
    • Дорожные ограждения 11ДО
    • Дорожные ограждение 11ДД
    • Мостовые ограждения 11МО
    • Тросовое ограждение 23ДД
  • Пешеходное ограждение
  • Опоры освещения металлические
    • Несиловые опоры освещения
    • Силовые опоры освещения
Услуги
  • Строительно-монтажные работы
    • Установка пешеходного ограждения
    • Защитное покрытие металлоконструкций
    • Монтаж гофрированных труб
  • Установка барьерного ограждения
  • Инженерное сопровождение
  • Инженерный расчет
Калькулятор
Доставка и оплата
О предприятии
  • О предприятии
  • Благодарственные письма
  • Вакансии
  • ГОСТы и техническая документация
  • Реквизиты
  • Статьи
  • Новости
Фотогалерея
Контакты
Самара
Самара
г. Самара, ул. Гагарина, 85
Пн. – Пт.: с 9:00 до 18:00; Сб. – Вс.: выходные
zakaz@mpo-prometey.ru
7 (922) 178-81-77
7 (922) 178-81-77
8(800)550-83-35
E-mail
zakaz@mpo-prometey.ru
info@mpo-prometey.ru
Адрес
г. Самара, ул. Гагарина, 85
Режим работы
Пн. – Пт.: с 9:00 до 18:00
+7 (922) 178-81-77
Заказать звонок
МПО ПРОМЕТЕЙ
Работаем для Вас
уже более 5 лет!
Каталог
  • Дорожные металлические трубы
    Дорожные металлические трубы
    • Трубы ЛМГ (МГК) —
    • Спиральновитые трубы (ГСМТ) —
    • Гофрированные арки
  • Барьерные дорожные ограждения
    Барьерные дорожные ограждения
    • Дорожные ограждения 11ДО —
    • Дорожные ограждение 11ДД —
    • Мостовые ограждения 11МО —
    • Тросовое ограждение 23ДД
  • Пешеходное ограждение
    Пешеходное ограждение
  • Опоры освещения металлические
    Опоры освещения металлические
    • Несиловые опоры освещения —
    • Силовые опоры освещения
Услуги
  • Строительно-монтажные работы
    Строительно-монтажные работы
    • Установка пешеходного ограждения —
    • Защитное покрытие металлоконструкций —
    • Монтаж гофрированных труб
  • Установка барьерного ограждения
    Установка барьерного ограждения
  • Инженерное сопровождение
    Инженерное сопровождение
  • Инженерный расчет
    Инженерный расчет
Калькулятор
Доставка и оплата
О предприятии
  • О предприятии
  • Благодарственные письма
  • Вакансии
  • ГОСТы и техническая документация
  • Реквизиты
  • Статьи
  • Новости
Фотогалерея
Контакты
    МПО ПРОМЕТЕЙ
    Каталог
    • Дорожные металлические трубы
      Дорожные металлические трубы
      • Трубы ЛМГ (МГК) —
      • Спиральновитые трубы (ГСМТ) —
      • Гофрированные арки
    • Барьерные дорожные ограждения
      Барьерные дорожные ограждения
      • Дорожные ограждения 11ДО —
      • Дорожные ограждение 11ДД —
      • Мостовые ограждения 11МО —
      • Тросовое ограждение 23ДД
    • Пешеходное ограждение
      Пешеходное ограждение
    • Опоры освещения металлические
      Опоры освещения металлические
      • Несиловые опоры освещения —
      • Силовые опоры освещения
    Услуги
    • Строительно-монтажные работы
      Строительно-монтажные работы
      • Установка пешеходного ограждения —
      • Защитное покрытие металлоконструкций —
      • Монтаж гофрированных труб
    • Установка барьерного ограждения
      Установка барьерного ограждения
    • Инженерное сопровождение
      Инженерное сопровождение
    • Инженерный расчет
      Инженерный расчет
    Калькулятор
    Доставка и оплата
    О предприятии
    • О предприятии
    • Благодарственные письма
    • Вакансии
    • ГОСТы и техническая документация
    • Реквизиты
    • Статьи
    • Новости
    Фотогалерея
    Контакты
      Самара
      7 (922) 178-81-77
      8(800)550-83-35
      E-mail
      zakaz@mpo-prometey.ru
      info@mpo-prometey.ru
      Адрес
      г. Самара, ул. Гагарина, 85
      Режим работы
      Пн. – Пт.: с 9:00 до 18:00
      МПО ПРОМЕТЕЙ
      Телефоны
      7 (922) 178-81-77
      8(800)550-83-35
      E-mail
      zakaz@mpo-prometey.ru
      info@mpo-prometey.ru
      Адрес
      г. Самара, ул. Гагарина, 85
      Режим работы
      Пн. – Пт.: с 9:00 до 18:00
      МПО ПРОМЕТЕЙ
      • Каталог
        • Каталог
        • Дорожные металлические трубы
          • Дорожные металлические трубы
          • Трубы ЛМГ (МГК)
          • Спиральновитые трубы (ГСМТ)
          • Гофрированные арки
        • Барьерные дорожные ограждения
          • Барьерные дорожные ограждения
          • Дорожные ограждения 11ДО
          • Дорожные ограждение 11ДД
          • Мостовые ограждения 11МО
          • Тросовое ограждение 23ДД
        • Пешеходное ограждение
        • Опоры освещения металлические
          • Опоры освещения металлические
          • Несиловые опоры освещения
            • Несиловые опоры освещения
            • Опора несиловая фланцевая граненая НФГ
            • Опоры освещения граненые коническая ОГК
          • Силовые опоры освещения
            • Силовые опоры освещения
            • Опоры граненные силовые ОГС
            • Опоры силовые фланцевые граненые СФГ
      • Услуги
        • Услуги
        • Строительно-монтажные работы
          • Строительно-монтажные работы
          • Установка пешеходного ограждения
          • Защитное покрытие металлоконструкций
          • Монтаж гофрированных труб
        • Установка барьерного ограждения
        • Инженерное сопровождение
        • Инженерный расчет
      • Калькулятор
      • Доставка и оплата
      • О предприятии
        • О предприятии
        • О предприятии
        • Благодарственные письма
        • Вакансии
        • ГОСТы и техническая документация
        • Реквизиты
        • Статьи
        • Новости
      • Фотогалерея
      • Контакты
      • Самара
        • Города
        • Астрахань
        • Барнаул
        • Белгород
        • Владивосток
        • Владикавказ
        • Волгоград
        • Воронеж
        • Екатеринбург
        • Иваново
        • Иркутск
        • Казань
        • Калининград
        • Краснодар
        • Красноярск
        • Москва
        • Нижний Новгород
        • Новосибирск
        • Новый Уренгой
        • Омск
        • Пермь
        • Ростов-на-Дону
        • Рязань
        • Самара
        • Санкт-Петербург
        • Саратов
        • Севастополь
        • Симферополь
        • Сочи
        • Тверь
        • Тюмень
        • Ульяновск
        • Уфа
        • Хабаровск
        • Челябинск
        • Якутск
        • Ярославль
      • 7 (922) 178-81-77
        • Телефоны
        • 7 (922) 178-81-77
        • 8(800)550-83-35
      • г. Самара, ул. Гагарина, 85
      • zakaz@mpo-prometey.ru
        info@mpo-prometey.ru
      • Пн. – Пт.: с 9:00 до 18:00

      Барьерные ограждения 11ДО

      Главная
      —
      Продукты
      —
      Металлические барьерные дорожные ограждения
      —Барьерные ограждения 11ДО
      Фильтр
      По популярности (возрастание)
      По наименованию (А-Я)
      По наименованию (Я-А)
      По популярности (возрастание)
      По популярности (убывание)
      По цене (сначала дешёвые)
      По цене (сначала дорогие)
      Фильтр
      Статус
      Показать:
      Выбрано: 0 Показать
      Выбрано: 0
      Дорожное ограждение 11ДО-4-130 кДж У1
      Дорожные ограждения 11ДО
      Дорожное ограждение 11ДО-4-130 кДж У1
      В наличии
      ГОСТ — 26804-2012
      Покрытие — гор.цинк.
      СТО — 35427189-001-2019
      Шаг стойки, м — 4
      Дорожное ограждение 11ДО-3-350 кДж У5
      Дорожные ограждения 11ДО
      Дорожное ограждение 11ДО-3-350 кДж У5
      В наличии
      ГОСТ — 26804-2012
      Покрытие — 350
      СТО — 35427189-001-2019
      Шаг стойки, м — 3
      Дорожное ограждение 11ДО-3-130 кДж У1
      Дорожные ограждения 11ДО
      Дорожное ограждение 11ДО-3-130 кДж У1
      В наличии
      ГОСТ — 26804-2012
      Покрытие — гор.цинк.
      СТО — 35427189-001-2019
      Шаг стойки, м — 3
      Дорожное ограждение 11ДО-2,5-190 кДж У2
      Дорожные ограждения 11ДО
      Дорожное ограждение 11ДО-2,5-190 кДж У2
      В наличии
      ГОСТ — 26804-2012
      Покрытие — гор.цинк.
      СТО — 35427189-001-2019
      Шаг стойки, м — 2,5
      Дорожное ограждение 11ДО-2-500 кДж У8
      Дорожные ограждения 11ДО
      Дорожное ограждение 11ДО-2-500 кДж У8
      В наличии
      ГОСТ — 26804-2012
      Покрытие — гор.цинк.
      СТО — 35427189-001-2019
      Шаг стойки, м — 3
      Дорожное ограждение 11ДО-2-450 кДж У7
      Дорожные ограждения 11ДО
      Дорожное ограждение 11ДО-2-450 кДж У7
      В наличии
      ГОСТ — 26804-2012
      Покрытие — гор.цинк.
      СТО — 35427189-001-2019
      Шаг стойки, м — 2
      Дорожное ограждение 11ДО-2-250 кДж У3
      Дорожные ограждения 11ДО
      Дорожное ограждение 11ДО-2-250 кДж У3
      В наличии
      ГОСТ — 26804-2012
      Покрытие — гор.цинк.
      СТО — 35427189-001-2019
      Шаг стойки, м — 2
      Дорожное ограждение 11ДО-2-190 кДж У2
      Дорожные ограждения 11ДО
      Дорожное ограждение 11ДО-2-190 кДж У2
      В наличии
      ГОСТ — 26804-2012
      Покрытие — гор.цинк.
      СТО — 35427189-001-2019
      Шаг стойки, м — 2
      Дорожное ограждение 11ДО-1,5-300 кДж У4
      Дорожные ограждения 11ДО
      Дорожное ограждение 11ДО-1,5-300 кДж У4
      В наличии
      ГОСТ — 26804-2012
      Покрытие — гор.цинк.
      СТО — 35427189-001-2019
      Шаг стойки, м — 1,5
      Дорожное ограждение 11ДО-1-450 кДж У7
      Дорожные ограждения 11ДО
      Дорожное ограждение 11ДО-1-450 кДж У7
      В наличии
      ГОСТ — 26804-2012
      Покрытие — гор.цинк.
      СТО — 35427189-001-2019
      Шаг стойки, м — 1
      1 2 3

      Для обеспечения безопасности в транспортной автомобильной инфраструктуре применяют различные средства, одни их наиболее действенны – это дорожные металлические ограждения. Конструкции представляют собой реальную преграду для ТС. Для дорожных зон предназначены различные типы барьеров, 11ДО – для установки на обочинах магистралей. Металлоконструкции предотвращают съезд автомобилей за пределы транспортного потока, препятствуют выходу пешеходов на проезжую часть. Места размещения барьеров регламентируют государственные стандарты, так же их целесообразно устанавливать на опасных участках, выявленных при эксплуатации автотрассы – они заметно снизят количество аварий. Купить дорожные ограждения 11 ДО можно комплектами деталей, в которые входят и монтажные наборы.

      Разновидности 11ДО

      Поскольку для формирования безопасности на конкретных отрезках магистралей нужны конструкции с разными характеристиками, ГОСТ 26804-2012, предусматривает такой сортамент:

      • Конструкционные особенности. Одно- или двухъярусные.

      • Комплектация. Консоли с амортизаторами или без.

      • Установочные наборы. На основной дистанции используются 11ДО-S, на стартовом и финальном участке 11ДО-Н и 11ДО-К соответственно.

      • Расстояние между опорами. 1-4 метра.

      Конструкции выдерживают серьезные воздействия – 130-560 кДж. Для защиты металла от коррозии в производстве используются стальные листы, прошедшие горячую оцинковку, что обуславливает длительный срок эксплуатации – не менее 50 лет.

      Основные достоинства односторонних дорожных барьеров:

      • высокая прочность, надежность, функциональность;

      • технологичный, оперативный монтаж разрешает оперативно сформировать безопасность на дистанциях любой протяженности;

      • стойкость к любым негативным климатическим воздействиям: от перепадов температуры до оледенения.

      Купить дорожные ограждения 11ДО в Самаре

      МПО «Прометей» изготавливает металлические конструкции дорожной безопасности на собственных производственных площадках, цены – одни из лучших в отрасли. У нас можно купить 11ДО на таких условиях: дистанционные продажи, все типоразмеры, комплектации стандартные и специальные, работаем с юридическими и физическими лицами, на складе значительные объемы металлопродукции, удобные форматы оплаты, доставка по всей Самарской области. МПО «Прометей» принимает заказы на монтаж малых конструкций по небольшим и крупным проектам, бригады мастеров согласно СП и других нормативов. Наши менеджеры готовы компетентно консультировать клиентов.

      Калькулятор барьерных ограждений


      Ограждения дорожные 11ДО с жесткими консолями
      Обозна-чение марки Высота ограж-дения , м Уровень удерживающей способности Сечение стойки - швеллер Толщина листа балки , мм Шаг стоек , м Прогиб динамический , м Заглубление стоек в грунт, (минимальное), м
      11-ДО 0,75 У1 N 12 3 2,0 1,50 1,10
      N 14* 4,0 1,50 1,10
      N 12 4 2,5 1,50 1,10
      N 14 3,0 1,50 1,10
      У2 N 12 3 1,5 1,50 1,10
      N 14* 2,0 1,25 1,10
      N 16 2,5 1,25 1,10
      N 14 4 2,0 1,25 1,10
      N 16** 4,0 1,50 1,10
      У3 N 14* 3 1,33 1,50 1,20
      N 16** 2,0 1,50 1,20
      N 12 4 1,0 1,50 1,10
      N 14* 1,5 1,25 1,10
      N 16** 2,0 1,0 1,10
      У4 N 16** 3 1,5 1,00 1,20
      N 14* 4 1,0 1,25 1,10
      N 16** 2,0 1,10 1,10

      * Могут быть применены стойки из гнутого С-образного профиля 12055185 мм по ГОСТ 8282.*

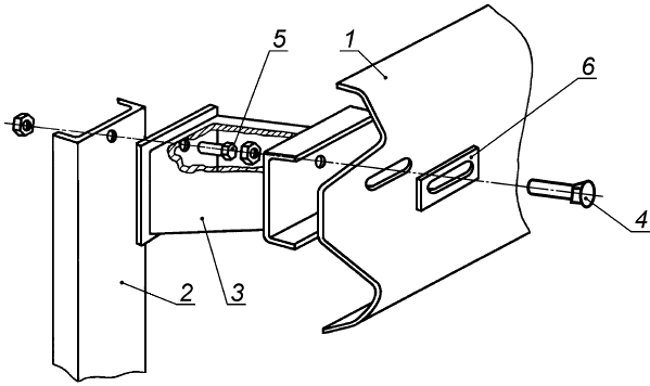
      1 - балка; 2 - стойка; 3 - консоль жесткая; 4 - болт М1645.5.8; 5 - болт М1630.5.8; 6 - шайба 80404 мм
      Рисунок 1 - Одностороннее дорожные ограждение с жесткой консолью.

      Односторонние дорожные ограждения с консолями-амортизаторами
      Обозначение марки Высота ограждения , м Уровень удерживающей способности Сечение стойки - двутавр Толщина листа балки , мм Шаг стоек , м Прогиб динамический , м Эскиз
      11-ДО 0,75 У1 N 12 3 2,5 1,0 Барьерные ограждения
      N 12 4 3,0 1,25 Барьерные ограждения
      У2 N 12 3 1,5 1,0 Барьерные ограждения
      N 12 4 2,0 1,0 Барьерные ограждения
      N 14 2,5 1,25 Барьерные ограждения
      У3 N 12 3 1,0 1,0 Барьерные ограждения
      N 12 4 1,0 1,0
      N 14 2,0 1,0 Барьерные ограждения
      У4 N 14 4 1,0 1,0 Барьерные ограждения
      • Дорожные металлические трубы
        • Трубы ЛМГ (МГК)
        • Спиральновитые трубы (ГСМТ)
        • Гофрированные арки
      • Барьерные дорожные ограждения
        • Дорожные ограждения 11ДО
        • Дорожные ограждение 11ДД
        • Мостовые ограждения 11МО
        • Тросовое ограждение 23ДД
      • Пешеходное ограждение
      • Опоры освещения металлические
        • Несиловые опоры освещения
          • Опора несиловая фланцевая граненая НФГ
          • Опоры освещения граненые коническая ОГК
        • Силовые опоры освещения
          • Опоры граненные силовые ОГС
          • Опоры силовые фланцевые граненые СФГ
      Компания
      О предприятии
      Благодарственные письма
      Вакансии
      ГОСТы и техническая документация
      Реквизиты
      Статьи
      Новости
      Каталог
      Дорожные металлические трубы
      Барьерные дорожные ограждения
      Пешеходное ограждение
      Опоры освещения металлические
      Услуги
      Строительно-монтажные работы
      Установка барьерного ограждения
      Инженерное сопровождение
      Инженерный расчет
      Офис: г. Екатеринбург,
ул. Высоцкого, 4б, оф. 24
      Производство: г. Екатеринбург, ул. Цвиллинга, дом 7ч
      Часы работы:
      Пн. – Пт.: с 9:00 до 18:00
      Сб. – Вс.: выходные
      7 (922) 178-81-77
      7 (922) 178-81-77
      8(800)550-83-35
      Режим работы
      Пн. – Пт.: с 9:00 до 18:00
      zakaz@mpo-prometey.ru
      info@mpo-prometey.ru
      Доставка и оплата
      Сертификаты
      Реквизиты
      Контакты
      © 2025 "mpo-prometey.ru"
      Все права защищены.
      Политика конфиденциальности
      Карта сайта
      Разработка и продвижение сайта
      Калькулятор
      Главная Каталог Услуги Контакты